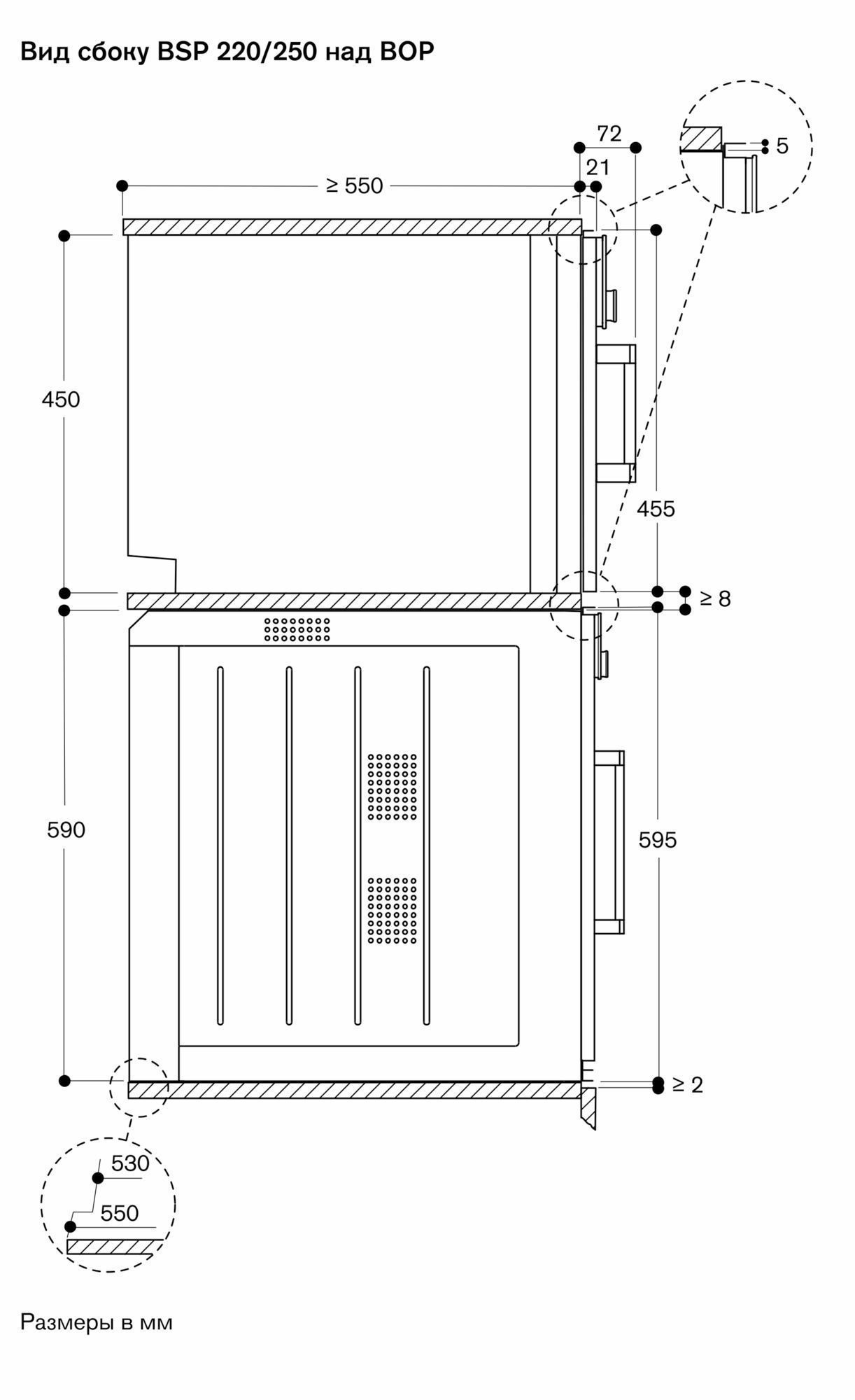
Схема для духового шкафа Gaggenau BSP250111- вариант 2

Сохранить файл: Схема для духового шкафа Gaggenau BSP250111- вариант 2JPG, 133.15 Кб
Схема для духового шкафа Gaggenau BSP250111- вариант 2
destination picture
Фирменный Шоурум High Level в МосквеРублевское шоссе, дом 52а, ТЦ «Casa Ricca Expo», 3 эт.
destination route