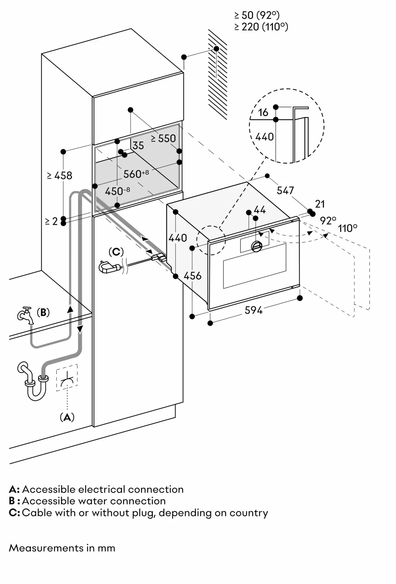
Схема для духового шкафа Gaggenau GS270130

Сохранить файл: Схема для духового шкафа Gaggenau GS270130JPG, 279.06 Кб
Схема для духового шкафа Gaggenau GS270130
destination picture
Фирменный Шоурум High Level в МосквеРублевское шоссе, дом 52а, ТЦ «Casa Ricca Expo», 3 эт.
destination route