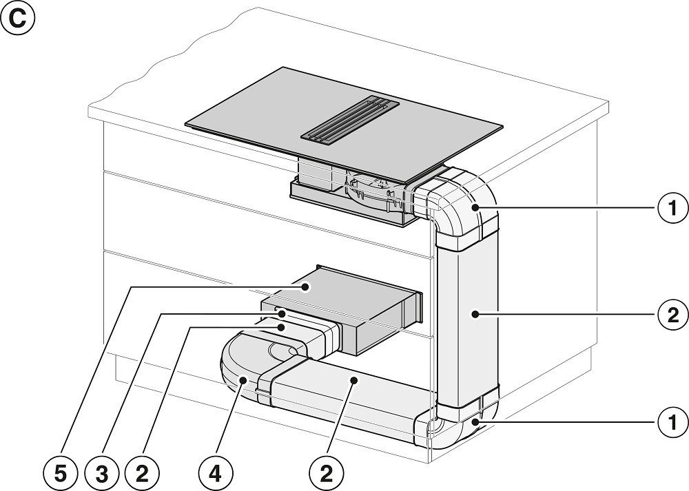
Схема для варочной панели Miele KMDA 7634 FR- вариант 3

Сохранить файл: Схема для варочной панели Miele KMDA 7634 FR- вариант 3JPG, 124.10 Кб
Схема для варочной панели Miele KMDA 7634 FR- вариант 3
destination picture
Фирменный Шоурум High Level в МосквеРублевское шоссе, дом 52а, ТЦ «Casa Ricca Expo», 3 эт.
destination route